06.2 - Redica : la Règle à Dispenser de Calculer
Il faut trouver sa voie !
Selon Hergé, en tout cas, ce serait une citation de Lao Tseu.
Observons attentivement l'image ci-contre.
En haut, un pied à coulisse au cinquantième de fabrication helvétique, fonctionnement irréprochable, ayant appartenu à mon maître Claude et que je chéris particulièrement.
En bas, un machin électronique asiatique quelconque de même amplitude et précision annoncée, que je ne chéris pas du tout !
Ami lecteur, parmi ces deux instruments de mesure d'égale prétention, sauras-tu trouver celui qui fonctionne correctement et fournit la mesure demandée même s'il vient de passer deux ans dans le tiroir à petits outils de mon établi lorsque j'en ai vraiment besoin ?
La réponse évidente est : celui qui n'a pas besoin de piles pour fonctionner, bien sûr.
Une petite concession toutefois : certes, la version mécanique nécessite un bref apprentissage de lecture du cadran et certes, il est plus coûteux.
La version numérique, quand elle est munie d'une pile chargée, dispense de cet apprentissage en affichant la mesure, mais cet affichage à deux décimales induit l'idée fausse qu'il serait précis au centième alors que dans les faits, sa résolution n'est pas meilleure...
Selon Hergé, en tout cas, ce serait une citation de Lao Tseu.
Observons attentivement l'image ci-contre.
En haut, un pied à coulisse au cinquantième de fabrication helvétique, fonctionnement irréprochable, ayant appartenu à mon maître Claude et que je chéris particulièrement.
En bas, un machin électronique asiatique quelconque de même amplitude et précision annoncée, que je ne chéris pas du tout !
Ami lecteur, parmi ces deux instruments de mesure d'égale prétention, sauras-tu trouver celui qui fonctionne correctement et fournit la mesure demandée même s'il vient de passer deux ans dans le tiroir à petits outils de mon établi lorsque j'en ai vraiment besoin ?
La réponse évidente est : celui qui n'a pas besoin de piles pour fonctionner, bien sûr.
Une petite concession toutefois : certes, la version mécanique nécessite un bref apprentissage de lecture du cadran et certes, il est plus coûteux.
La version numérique, quand elle est munie d'une pile chargée, dispense de cet apprentissage en affichant la mesure, mais cet affichage à deux décimales induit l'idée fausse qu'il serait précis au centième alors que dans les faits, sa résolution n'est pas meilleure...
Première mondiale !
Considérant son tiroir à outils, s'il avait été modéliste, Lao Tseu aurait sans doute chéri ses anciens outils et conservé le mode d'emploi.
Comme nous suivons ce sage précepte, voici notre règle à calcul datant des années 60, poussiéreuse comme un grand cru en cave.
En fait, les débris que l'on voit dans la boîte sont ceux de la mousse de protection qui se délite, bien moins durable que la règle elle-même.
En hommage à cette relique, voici une nouveauté qui s'en inspire.
La page précédente de Guide du Militant nous a valu quelques commentaires de lecteurs se demandant comment s'y retrouver avec nos 19 diamètres de roues et 6 profils de bandage par diamètre.
Pour répondre à ce besoin lancinant, voici donc Redica, la règle à dispenser de calculer.
Inédite sur le marché du modèle réduit, Redica est en fait un abaque de sélection de profil parmi les 114 propositions de notre offre.
En effet, pour mieux aborder votre projet de conversion avec nos productions, nous voulons vous aider.
Vous trouverez chaque jour de nouveaux usages à Redica, et bien entendu elle est déjà dans notre boutique en ligne.
Considérant son tiroir à outils, s'il avait été modéliste, Lao Tseu aurait sans doute chéri ses anciens outils et conservé le mode d'emploi.
Comme nous suivons ce sage précepte, voici notre règle à calcul datant des années 60, poussiéreuse comme un grand cru en cave.
En fait, les débris que l'on voit dans la boîte sont ceux de la mousse de protection qui se délite, bien moins durable que la règle elle-même.
En hommage à cette relique, voici une nouveauté qui s'en inspire.
La page précédente de Guide du Militant nous a valu quelques commentaires de lecteurs se demandant comment s'y retrouver avec nos 19 diamètres de roues et 6 profils de bandage par diamètre.
Pour répondre à ce besoin lancinant, voici donc Redica, la règle à dispenser de calculer.
Inédite sur le marché du modèle réduit, Redica est en fait un abaque de sélection de profil parmi les 114 propositions de notre offre.
En effet, pour mieux aborder votre projet de conversion avec nos productions, nous voulons vous aider.
Vous trouverez chaque jour de nouveaux usages à Redica, et bien entendu elle est déjà dans notre boutique en ligne.
A la base de Redica, la règle à profils
Redica se base sur une règle à profils qui présente la totalité des profils envisageables en prenant pour base notre production actuelle.
Une ligne de base traverse la partie utile de la règle : elle représente l'axe de l'essieu monté.
Pour chaque diamètre de notre gamme, la règle introduit un cartouche avec les six profils envisagés.
Ce cartouche est placé à une distance donnée de la ligne de base : cette distance est égale au rayon de la roue à l'échelle 5:1, choisie pour une bonne netteté des profils.
L'arrangement en colonnes n'est autre que l'étalement en largeur minimisant le recouvrement des cartouches.
Redica se base sur une règle à profils qui présente la totalité des profils envisageables en prenant pour base notre production actuelle.
Une ligne de base traverse la partie utile de la règle : elle représente l'axe de l'essieu monté.
Pour chaque diamètre de notre gamme, la règle introduit un cartouche avec les six profils envisagés.
Ce cartouche est placé à une distance donnée de la ligne de base : cette distance est égale au rayon de la roue à l'échelle 5:1, choisie pour une bonne netteté des profils.
L'arrangement en colonnes n'est autre que l'étalement en largeur minimisant le recouvrement des cartouches.
Le coulisseau Redica
Le coulisseau Redica peut être déplacé horizontalement sur la règle pour choisir le cartouche de diamètre qui correspond le mieux à la roue que vous cherchez.
En conjonction avec le vernier présenté au point suivant, vous trouverez le cartouche individuel qui vous convient.
Vous déterminerez ainsi le diamètre de bandage nominal de notre gamme qui correspond à votre projet !
Pour cela, le coulisseau est muni de deux échelles débutant à la même origine : la ligne de base de la règle, présentée au paragraphe précédent.
L'échelle de gauche est graduée en mètres et indique le diamètre de la roue réelle, soit ici (1:87 * 2.5).
L'échelle de droite est graduée en millimètres (x 2.5) et indique le diamètre de la roue modèle recherchée.
Le coulisseau Redica peut être déplacé horizontalement sur la règle pour choisir le cartouche de diamètre qui correspond le mieux à la roue que vous cherchez.
En conjonction avec le vernier présenté au point suivant, vous trouverez le cartouche individuel qui vous convient.
Vous déterminerez ainsi le diamètre de bandage nominal de notre gamme qui correspond à votre projet !
Pour cela, le coulisseau est muni de deux échelles débutant à la même origine : la ligne de base de la règle, présentée au paragraphe précédent.
L'échelle de gauche est graduée en mètres et indique le diamètre de la roue réelle, soit ici (1:87 * 2.5).
L'échelle de droite est graduée en millimètres (x 2.5) et indique le diamètre de la roue modèle recherchée.
Le vernier mobile vertical Redica
Inspiré par le pied à coulisse de Maître Claude qui n'en est pourtant pas muni, le vernier est une magnifique invention de nos anciens.
Le vernier permet de lire le dixième de graduation voire le vingtième ou le cinquantième sur un pied à coulisse.
Le coulisseau est muni d'un vernier mobile vertical Redica avec deux indications : à gauche, une échelle de 0.09 unités permettant de lire en mètres le diamètre la roue réelle et à droite, une seconde échelle de 9 unités permettant de lire le dixième de millimètre mesuré au diamètre de la roue du modèle réduit.
Après avoir réglé le coulisseau et choisi au vernier le cartouche le plus proche du diamètre voulu, une excroissance du guichet du vernier représente le profil du rail pour chaque profil de bandage.
Selon la norme choisie, les profils M P et S montrent nos possibilités en Proto'87 alors que N R et T montrent celles en RP25-88.
Dans la page précédente, nous avons vu des roues de bogie Y30P.
Voici cette recherche avec Redica : coulisseau en seconde colonne, vernier au diamètre réel de 840 mm, cartouche de 9.7 mm.
Quatre profils conviennent, P et Q à hauteur nominale de bandage ou les profils fins R et T ; le profil réduit M ne s'applique pas, le profil N s'applique si la place disponible dans votre modèle interdit R et T.
Inspiré par le pied à coulisse de Maître Claude qui n'en est pourtant pas muni, le vernier est une magnifique invention de nos anciens.
Le vernier permet de lire le dixième de graduation voire le vingtième ou le cinquantième sur un pied à coulisse.
Le coulisseau est muni d'un vernier mobile vertical Redica avec deux indications : à gauche, une échelle de 0.09 unités permettant de lire en mètres le diamètre la roue réelle et à droite, une seconde échelle de 9 unités permettant de lire le dixième de millimètre mesuré au diamètre de la roue du modèle réduit.
Après avoir réglé le coulisseau et choisi au vernier le cartouche le plus proche du diamètre voulu, une excroissance du guichet du vernier représente le profil du rail pour chaque profil de bandage.
Selon la norme choisie, les profils M P et S montrent nos possibilités en Proto'87 alors que N R et T montrent celles en RP25-88.
Dans la page précédente, nous avons vu des roues de bogie Y30P.
Voici cette recherche avec Redica : coulisseau en seconde colonne, vernier au diamètre réel de 840 mm, cartouche de 9.7 mm.
Quatre profils conviennent, P et Q à hauteur nominale de bandage ou les profils fins R et T ; le profil réduit M ne s'applique pas, le profil N s'applique si la place disponible dans votre modèle interdit R et T.
Le bogie Y30P et la coupe d'une roue
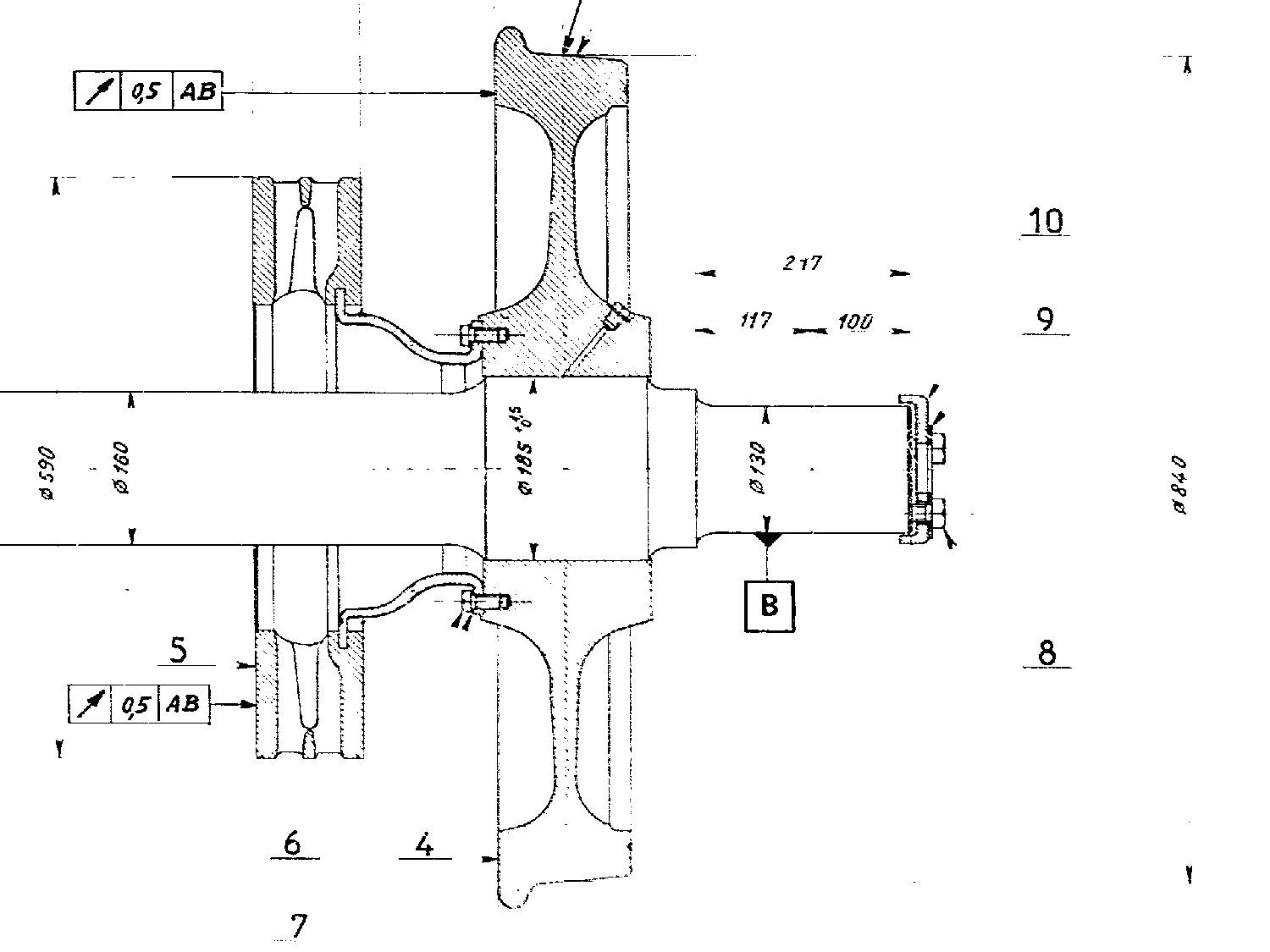
Il est vrai que ce bogie laisse peu apparaître la forme du flasque de la roue et que le remplacement d'un essieu qui serait correctement normalisé NEM 311.1 ou RP25-88 ne serait pas forcément pertinent, mais que faire si on souhaite représenter ces élégantes voitures de banlieue à deux niveaux sur un réseau en norme Proto'87 ?
Sensible à ce projet d'un ami Protoïste, nous avons développé le flasque de ces essieux sur notre logiciel de CAO paramétrique.
Ainsi, l'adaptation d'une seule cote du modèle permet de dériver les deux flasques Y et Z selon le profil choisi.
Pour ce développement, nous avons bénéficié de l'aide du référent historique habituel de cet ami Protoïste et nous les remercions tous les deux, ils se reconnaîtront.
Sans trahir les documents transmis qui contenaient toutes les cotes nécessaires, voici un extrait d'un autre plan qui montre la roue en coupe.
Au premier coup d'oeil sur Redica, on voit que seuls les profils S et T présentent la finesse voulue pour représenter les dimensions et les proportions de l'original !
Il est vrai que ce bogie laisse peu apparaître la forme du flasque de la roue et que le remplacement d'un essieu qui serait correctement normalisé NEM 311.1 ou RP25-88 ne serait pas forcément pertinent, mais que faire si on souhaite représenter ces élégantes voitures de banlieue à deux niveaux sur un réseau en norme Proto'87 ?
Sensible à ce projet d'un ami Protoïste, nous avons développé le flasque de ces essieux sur notre logiciel de CAO paramétrique.
Ainsi, l'adaptation d'une seule cote du modèle permet de dériver les deux flasques Y et Z selon le profil choisi.
Pour ce développement, nous avons bénéficié de l'aide du référent historique habituel de cet ami Protoïste et nous les remercions tous les deux, ils se reconnaîtront.
Sans trahir les documents transmis qui contenaient toutes les cotes nécessaires, voici un extrait d'un autre plan qui montre la roue en coupe.
Au premier coup d'oeil sur Redica, on voit que seuls les profils S et T présentent la finesse voulue pour représenter les dimensions et les proportions de l'original !
Le modèle de l'essieu monté Y30P
Nous présenterons sous peu notre approche de la conception du flasque paramétré de roues de ce genre quand nous reviendrons sur la saga du wagon TP.
Cette approche a été employée sur le présent flasque, et voici la conclusion de notre étude : le profil S et le flasque Z s'appliquent bien au projet de notre ami Protoïste !
Ces roues seront donc proposées au catalogue sous peu, ici ou ailleurs, pour lui permettre de mener ce projet à son terme dans des conditions modélistiques et financières qui lui conviennent.
Notons toutefois que les deux essieux montrés ici utilisent des axes à paliers intérieurs, alors que les modèles à équiper sont pourvus d'axes à pointes.
Nous montrerons aussi sous peu une réponse à ce vaste sujet, improprement étudié jusqu'ici, de l'isostatisme de l'axe à pointe en norme Proto'87.
Nous présenterons sous peu notre approche de la conception du flasque paramétré de roues de ce genre quand nous reviendrons sur la saga du wagon TP.
Cette approche a été employée sur le présent flasque, et voici la conclusion de notre étude : le profil S et le flasque Z s'appliquent bien au projet de notre ami Protoïste !
Ces roues seront donc proposées au catalogue sous peu, ici ou ailleurs, pour lui permettre de mener ce projet à son terme dans des conditions modélistiques et financières qui lui conviennent.
Notons toutefois que les deux essieux montrés ici utilisent des axes à paliers intérieurs, alors que les modèles à équiper sont pourvus d'axes à pointes.
Nous montrerons aussi sous peu une réponse à ce vaste sujet, improprement étudié jusqu'ici, de l'isostatisme de l'axe à pointe en norme Proto'87.
Redica et la 1.230D ex S9 Est-Modeles
Le sujet a fait couler beaucoup d'encre, les attaques contre notre proposition ont été initiées par Eric Beitz alias TJD75.
Douze ans après (!) avoir suscité l'article 6.1. de nos conditions générales, il continue de nous insulter par messages privés interposés sur le Forum LR Presse, en adressant "Apogée Voleur" (je cite) à un ami sans imaginer que ceci nous revienne dans la journée.
C'est pourquoi je rends public ce message qui finalement fait juste passer son auteur pour ce qu'il est.
LR Presse a gardé publique l'affirmation fausse de notre estimé confrère Yves Marly, qui écrivait que le montage *impossible" de nos roues sur son modèle était une perte d'argent.
Avec l'aide de Redica, nous démontrons le contraire.
La perte d'argent supposée existe bien lors de la conversion, car faute d'adopter la pratique britannique et rendre facultative l'acquisition des roues d'un kit, vous êtes forcés d'acheter le train de roues original alors qu'avec nos roues, vous n'en avez aucun usage.
Le vernier Redica est au diamètre des motrices, soit 2.00 m, ce qui amène le coulisseau sur la seconde colonne comme dans l'exemple précédent, mais ceci est un hasard.
Le sujet a fait couler beaucoup d'encre, les attaques contre notre proposition ont été initiées par Eric Beitz alias TJD75.
Douze ans après (!) avoir suscité l'article 6.1. de nos conditions générales, il continue de nous insulter par messages privés interposés sur le Forum LR Presse, en adressant "Apogée Voleur" (je cite) à un ami sans imaginer que ceci nous revienne dans la journée.
C'est pourquoi je rends public ce message qui finalement fait juste passer son auteur pour ce qu'il est.
LR Presse a gardé publique l'affirmation fausse de notre estimé confrère Yves Marly, qui écrivait que le montage *impossible" de nos roues sur son modèle était une perte d'argent.
Avec l'aide de Redica, nous démontrons le contraire.
La perte d'argent supposée existe bien lors de la conversion, car faute d'adopter la pratique britannique et rendre facultative l'acquisition des roues d'un kit, vous êtes forcés d'acheter le train de roues original alors qu'avec nos roues, vous n'en avez aucun usage.
Le vernier Redica est au diamètre des motrices, soit 2.00 m, ce qui amène le coulisseau sur la seconde colonne comme dans l'exemple précédent, mais ceci est un hasard.
Nos roues et la 1.230D ex S9 Est-Modeles
En lisant les profils, on voit que pour ce modèle où les entraxes des essieux sont à l'échelle, le profil R ne convient pas : en norme RP25-88 il faut adopter un profil réduit N et c'est précisément ce que nous proposons sans supplément à tout acquéreur.
En Proto'87, l'encombrement des roues au profil P ou S convient, à vous de choisir selon le degré d'usure souhaité des bandages.
Voici nos roues RP25-88 profil N flasque Y équipant la 1.230D ex S9 Est-Modeles.
L'affirmation d'Yves Marly est bel et bien démentie par les faits sur ce montage du modéliste qui signe 141TC sur le forum LR Presse !
En lisant les profils, on voit que pour ce modèle où les entraxes des essieux sont à l'échelle, le profil R ne convient pas : en norme RP25-88 il faut adopter un profil réduit N et c'est précisément ce que nous proposons sans supplément à tout acquéreur.
En Proto'87, l'encombrement des roues au profil P ou S convient, à vous de choisir selon le degré d'usure souhaité des bandages.
Voici nos roues RP25-88 profil N flasque Y équipant la 1.230D ex S9 Est-Modeles.
L'affirmation d'Yves Marly est bel et bien démentie par les faits sur ce montage du modéliste qui signe 141TC sur le forum LR Presse !
107 secondes de bonheur !
Cette séquence tournée sur le réseau de son club et déjà publiée dans nos brèves le 15 Avril 2025 confirme qu'une locomotive munie de nos roues tracte de manière tout à fait satisfaisante, compte tenu de l'absence de bandages d'adhérence.
L'option bandage d'adhérence est proposée lors de votre commande, le taillage des gorges est inclus dans le prix des roues mais les bandages sont fournis séparément.
Après on souhaite disposer de bandages ou non, c'est une autre affaire...
En tout cas bravo à l'auteur pour son travail et merci de nous autoriser à montrer ces séquences ici.
Un grand merci pour ces 107 secondes de bonheur !
Cette séquence tournée sur le réseau de son club et déjà publiée dans nos brèves le 15 Avril 2025 confirme qu'une locomotive munie de nos roues tracte de manière tout à fait satisfaisante, compte tenu de l'absence de bandages d'adhérence.
L'option bandage d'adhérence est proposée lors de votre commande, le taillage des gorges est inclus dans le prix des roues mais les bandages sont fournis séparément.
Après on souhaite disposer de bandages ou non, c'est une autre affaire...
En tout cas bravo à l'auteur pour son travail et merci de nous autoriser à montrer ces séquences ici.
Un grand merci pour ces 107 secondes de bonheur !












